Lithium borohydride
Lithium borohydride (LiBH4) is a borohydride and known in organic synthesis as a reducing agent for esters. Although less common than the related sodium borohydride, the lithium salt offers some advantages, being a stronger reducing agent and highly soluble in ethers, whilst remaining safer to handle than lithium aluminium hydride.[3]
![]() | |
![]() | |
![]() Unit cell of lithium borohydride at room temperature | |
| Names | |
|---|---|
| IUPAC name
Lithium tetrahydridoborate(1–) | |
| Other names
Lithium hydroborate, Lithium tetrahydroborate Borate(1-), tetrahydro-, lithium, lithium boranate | |
| Identifiers | |
3D model (JSmol) |
|
| ChemSpider | |
| ECHA InfoCard | 100.037.277 |
PubChem CID |
|
| RTECS number |
|
| UNII | |
CompTox Dashboard (EPA) |
|
| |
| |
| Properties | |
| LiBH4 | |
| Molar mass | 21.784 g/mol |
| Appearance | White solid |
| Density | 0.666 g/cm3[1] |
| Melting point | 268 °C (514 °F; 541 K) |
| Boiling point | 380 °C (716 °F; 653 K) decomposes |
| reacts | |
| Solubility in ether | 2.5 g/100 mL |
| Structure[2] | |
| orthorhombic | |
| Pnma | |
a = 7.17858(4), b = 4.43686(2), c = 6.80321(4) | |
Lattice volume (V) |
216.685(3) A3 |
Formula units (Z) |
4 |
| [4]B | |
| Thermochemistry | |
Heat capacity (C) |
82.6 J/(mol⋅K) |
Std molar entropy (S⦵298) |
75.7 J/(mol⋅K) |
Std enthalpy of formation (ΔfH⦵298) |
−198.83 kJ/mol |
| Hazards | |
| > 180 °C (356 °F; 453 K) | |
Except where otherwise noted, data are given for materials in their standard state (at 25 °C [77 °F], 100 kPa).
Infobox references | |
Preparation
Lithium borohydride may be prepared by the metathesis reaction, which occurs upon ball-milling the more commonly available sodium borohydride and lithium bromide:[4]
- NaBH4 + LiBr → NaBr + LiBH4
Alternatively, it may be synthesized by treating boron trifluoride with lithium hydride in diethyl ether:[5]
- BF3 + 4 LiH → LiBH4 + 3 LiF
Reactions
Lithium borohydride is useful as a source of hydride (H–). It can react with a range of carbonyl substrates and other polarized carbon structures to form a hydrogen–carbon bond. It can also react with Brønsted–Lowry-acidic substances (sources of H+) to form hydrogen gas.
Reduction reactions
As a hydride reducing agent, lithium borohydride is stronger than sodium borohydride[6][7] but weaker than lithium aluminium hydride.[7] Unlike the sodium analog, it can reduce esters to alcohols, nitriles and primary amides to amines, and can open epoxides. The enhanced reactivity in many of these cases is attributed to the polarization of the carbonyl substrate by complexation to the lithium cation.[3] Unlike the aluminium analog, it does not react with nitro groups, carbamic acids, alkyl halides, or secondary and tertiary amides.
Hydrogen generation
Lithium borohydride reacts with water to produce hydrogen. This reaction can be used for hydrogen generation.[8]
Although this reaction is usually spontaneous and violent, somewhat-stable aqueous solutions of lithium borohydride can be prepared at low temperature if degassed, distilled water is used and exposure to oxygen is carefully avoided.[9]
Energy storage


Lithium borohydride is renowned as one of the highest-energy-density chemical energy carriers. Although presently of no practical importance, the solid liberates 65 MJ/kg heat upon treatment with atmospheric oxygen. Since it has a density of 0.67 g/cm3, oxidation of liquid lithium borohydride gives 43 MJ/L. In comparison, gasoline gives 44 MJ/kg (or 35 MJ/L), while liquid hydrogen gives 120 MJ/kg (or 8.0 MJ/L).[nb 1] The high specific energy density of lithium borohydride has made it an attractive candidate to propose for automobile and rocket fuel, but despite the research and advocacy, it has not been used widely. As with all chemical-hydride-based energy carriers, lithium borohydride is very complex to recycle (i.e. recharge) and therefore suffers from a low energy conversion efficiency. While batteries such as lithium-ion carry an energy density of up to 0.72 MJ/kg and 2.0 MJ/L, their DC-to-DC conversion efficiency can be as high as 90%.[10] In view of the complexity of recycling mechanisms for metal hydrides,[11] such high energy-conversion efficiencies are not practical with present technology.
| Substance | Specific energy, MJ/kg | Density,, g/cm3 | Energy density, MJ/L |
|---|---|---|---|
| LiBH4 | 65.2 | 0.666 | 43.4 |
| Regular gasoline | 44 | 0.72 | 34.8 |
| Liquid hydrogen | 120 | 0.0708 | 8 |
| Lithium-ion battery | 0.72 | 2.8 | 2 |
See also
Notes
- The greater ratio of energy density to specific energy for hydrogen is because of the very low mass density (0.071 g/cm3).
References
- Sigma-Aldrich Product Detail Page.
- J-Ph. Soulie, G. Renaudin, R. Cerny, K. Yvon (2002-11-18). "Lithium boro-hydride LiBH4: I. Crystal structure". Journal of Alloys and Compounds. 346 (1–2): 200–205. doi:10.1016/S0925-8388(02)00521-2.
{{cite journal}}: CS1 maint: multiple names: authors list (link) - Luca Banfi, Enrica Narisano, Renata Riva, Ellen W. Baxter, "Lithium Borohydride" e-EROS Encyclopedia of Reagents for Organic Synthesis, 2001, John Wiley & Sons. doi:10.1002/047084289X.rl061.pub2.
- Peter Rittmeyer, Ulrich Wietelmann, "Hydrides" in Ullmann's Encyclopedia of Industrial Chemistry, 2002, Wiley-VCH, Weinheim. doi:10.1002/14356007.a13_199.
- Brauer, Georg (1963). Handbook of Preparative Inorganic Chemistry. Vol. 1 (2nd ed.). New York: Academic Press. p. 775. ISBN 978-0121266011.
- Barrett, Anthony G. M. (1991). "Reduction of Carboxylic Acid Derivatives to Alcohols, Ethers and Amines". In Trost, Barry; Fleming, Ian; Schreiber, Stuart (eds.). Reduction: Selectivity, Strategy & Efficiency in Modern Organic Chemistry (1st ed.). New York: Pergamon Press. p. 244. doi:10.1016/B978-0-08-052349-1.00226-2. ISBN 9780080405995.
- Ookawa, Atsuhiro; Soai, Kenso (1986). "Mixed solvents containing methanol as useful reaction media for unique chemoselective reductions within lithium borohydride". The Journal of Organic Chemistry. 51 (21): 4000–4005. doi:10.1021/jo00371a017.
- Kojima, Yoshitsugu; Kawai, Yasuaki; Kimbara, Masahiko; Nakanishi, Haruyuki; Matsumoto, Shinichi (August 2004). "Hydrogen Generation by Hydrolysis Reaction of Lithium Borohydride". International Journal of Hydrogen Energy. 29 (12): 1213–1217. doi:10.1016/j.ijhydene.2003.12.009.
- Banus, M. Douglas; Bragdon, Robert W.; Gibb, Thomas R. P., Jr (1952). "Preparation of Quaternary Ammonium Borohydrides from Sodium and Lithium Borohydrides". J. Am. Chem. Soc. 74 (9): 2346–2348. doi:10.1021/ja01129a048.
{{cite journal}}: CS1 maint: multiple names: authors list (link) - Valøen, Lars Ole and Shoesmith, Mark I. (2007). The effect of PHEV and HEV duty cycles on battery and battery pack performance (PDF). 2007 Plug-in Highway Electric Vehicle Conference: Proceedings. Retrieved 11 June 2010.
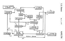
- U.S. Patent 4,002,726 (1977) lithium borohydride recycling from lithium borate via a methyl borate intermediate.


